Software: CAD - Tutorial - BONUS - Bemaszung

Die Zeichnungsansichten sind noch ohne Bemaßung. Diese soll nun ergänzt werden:
- Bei der Modellierung des Bauteils werden die konkreten Abmessungen im Wesentlichen durch Bemaßen der Skizzen bzw. durch die Parameter der platzierten Elemente festgelegt.
- Es ist sicher sinnvoll, diese Modellbemaßungen sofort in den Zeichnungsansichten zu benutzen.
- Moderne CAD-Systeme bieten diese Möglichkeit des Abrufens der vorhandenen Modellbemaßung.
Für jede Ansicht kann man über das Kontextmenü die Bemaßung abrufen ("Modellanmerkungen abrufen..."):
- Wir beginnen in der Erstansicht mit dem Abrufen der Bemaßung.
- Für die angewählte Bauteilansicht werden alle abrufbaren Modellmaße eingeblendet. Allerdings hat die Anordnung dieser Maße noch wenig mit einer normgerechten Darstellung zu tun, sondern hängt ab von den vorherigen konkreten Modellierungsschritten!
- Von den in der Ansicht verfügbaren Maßen muss man im nächsten Schritt diejenigen markieren, welche man tatsächlich verwenden möchte. Aufgrund der teilweise überlappenden Platzierung ist dies nicht immer einfach:
- Wir wählen nur eines der Fasenmaße 2 mm, weil wir die Fase in der Form 2x45° bemaßen werden.
- Das Maß 60 mm für die Länge des Bauteils platzieren wir in die Schnittansicht, um Kollisionen zwischen den Maßhilfslinien zu vermeiden:
- Nun sollte es kein Problem sein, für die Schnittansicht nach dem gleichen Prinzip die Bemaßung abzurufen:
Die Positionen der Maße werden aus den Skizzen des CAD-Modells übernommen und entsprechen nicht der Norm:
- Man muss die Maße noch manuell auf günstige, normgerechte Positionen ziehen. Dies geht sehr einfach und intuitiv mit dem Cursor.
- Wir beginnen mit der Position der Maßzahlen und -linien. Hierfür genügt das "Anfassen" und Ziehen der Maßzahlen an die gewünschte Position:
- Laut Norm sollen die Maßhilfslinien direkt an den Körperkanten beginnen, zwischen denen die Bemaßung erfolgt. Zwischen Körperkante und Maßhilfslinien verwendet man dabei einen kleinen Versatz von 0,8 mm.
- Bisher ist dies z.B. in der Schnittansicht für die Bauteil-Länge 60 noch nicht gewährleistet. Die betroffenen Maßhilfslinien müssen noch mit dem Cursor korrigiert werden (Bemaßung auswählen und mit Cursor an der Markierung der Maßhilfslinie bis zur Körperkante ziehen):
- Gleiches gilt für einige Maße der Erstansicht.
Nach dem Positionieren der Bemaßung einschließlich der Maßhilfslinien ergänzen wir für das Fasen-Maß 2 noch den Fasenwinkel von 45° als Text:
- Das Kontextmenü des Maßes ermöglicht das Öffnen eines Text-Editors:
- Die Position und Größe des Textes in Bezug auf die Maßzahl wird im Eingabefeld durch die Zeichen "<<>>" gesteuert.
- Die Winkelangabe soll in voller Textgröße nach der Maßzahl stehen, was durch <<>>x45° erreicht wird:
- Hinweis: Der Text 45° passt sich nicht an eine Änderung des Fasenwinkels im Modell an! Solch einen Trick darf man nur anwenden, wenn man genau weiß, dass sich der Fasenwinkel für dieses Bauteil nie ändert!

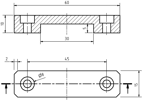
Im Beispiel ist es uns gelungen, fast alle Maße in Form von Modellbemaßung abzurufen. Nur die Bemaßung der beiden Bohrungen ist noch unvollständig:
Bohrinfo (nicht anwenden!): Für Bohrungen besteht die Möglichkeit, sogenannte Bohrungs-/Gewindeinfo zu verwenden. In Form einer vereinfachten Bemaßung erscheinen dann sämtliche Angaben zur Bohrungskonfiguration. Die Darstellung ist jedoch unübersichtlich und nicht ganz normgerecht (Siehe Bild rechts). Mit etwas Editier-Aufwand kann man die Beschriftung normgerecht gestalten (DIN 6780 oder [1] S.4.6 unten).
Allgemeine Bemaßung: Für Bohrungen, bei welchen sich die Form nachträglich auf keinen Fall ändert, sollte man die allgemeine Zeichnungsbemaßung verwenden. Diese führt zu einer übersichtlichen Bemaßung der Bohrungen:
- Die Tiefe der Senkung und das Durchmessermaß für die durchgängige Bohrung werden wir an der Schnittansicht platzieren.
- Dazu wählt man nach dem Aktivieren der Allgemeinen Bemaßung jeweils die Endpunkte der zu bemaßenden Strecken.
- Ab der Inventor Version 2021 beträgt der Durchmesser der Durchgangsbohrung 4,52 mm zur Berücksichtigung der erforderlichen Toleranz.
- Leider erscheint am Durchmessermaß bei älteren Inventor-Versionen nicht das Ø-Zeichen. Dieses musste man dann als Text ergänzen, wie wir das bereits von der Fasen-Bemaßung kennen:
- Hinweis: Würde man den Kreis der Bohrungskante in der Erstansicht bemaßen, so erschiene das Ø-Zeichen automatisch, aber die Bemaßung wäre dann etwas unübersichtlicher.
Beachtung von Einzel-Toleranzen
Die Nennmaße sind nun in den Zeichnungsansichten vorhanden. Abschließend sollen jetzt die erforderlichen Toleranzen für einzelne Maße berücksichtigt werden. Diese resultieren meist aus Anforderungen der Montage oder der Funktion.
1. Bohrungen für Zylinderschrauben
Beide Bohrungen sollen Zylinderkopf-Schrauben DIN 4762 M4x20 aufnehmen. Das erforderliche Spiel wurde im Verlaufe der Weiterentwicklung des Autodesk Inventors inzwischen bereits bei der Platzierung der Bohrungen im CAD-Modell weitestgehend automatisch berücksichtigt:
- Laut DIN EN 20273 sind die Durchmesser der Durchgangslöcher in Abhängigkeit vom Gewinde-Nenndurchmesser und der Fertigungsgenauigkeit vorgegeben. Für M4 und Toleranz "mittel" (H13) benötigt man z.B. einen Bohrdurchmesser von 4,5 mm
(Siehe [1] S.4.6). - Als Senktiefe sind minimal 4,4 mm erforderlich, dieser Wert wird vom Autodesk Inventor auf 4,5 mm erhöht.
2. Führungsbreite
Damit die Führung nicht klemmt oder zuviel Spiel besitzt, muss man eine geeignete Passung mit ISO-Toleranzen verwenden (Siehe [1] S.3.9 ff). Im Beispiel verwenden wir für das Innenmaß 30 mm eine ISO-Toleranz H7 (Doppelklick auf Maßzahl)
[1] Nagel, T.; Lienig, J.; Bönisch, I.; Reifegerste, F.: Technisches Darstellen.
Studienliteratur Elektrotechnik-Mechatronik-Regenerative Energiesysteme. Dresden: Verlag Initial, März 2016.








